FEATURE: Tetierele - ignorate de mulţi, extrem de importante pentru siguranţă
Automarket vă prezintă povestea tetierelor, un element pe cat de ignorat, pe atât de important când vine vorba de siguranţa pasagerilor. Cum trebuie aşezate şi de ce?

Tetierele sunt unele dintre cele mai ignorate elemente constitutive ale unei maşini. Şi totuşi, acestea pot să facă diferenţa dintre o viaţă sănătoasă şi una plină de dureri atroce la nivelul coloanei vertebrale în zona gâtului (zona cervicală). Motivul: dacă o altă maşină vă loveşte din spate la viteze mai mari de 10 kilometri pe oră, poziţia tatierelor şi geometria acestora au un rol determinant în modul în care capul şi gâtul se mişcă în urma impactului. De obicei, simptomele celor afectaţi merg de la simple dureri cauzate de întinderi musculare sau de ligamente până la leziuni ale nervilor, ale vertebrelor sau, în cazuri rare extrem de dure, chiar până la rupturi ale ligamentelor la nivelul gâtului sau la fracturi ale oaselor cervicale.
CE SE ÎNTÂMPLĂ ÎNTR-UN ACCIDENT?
EuroNCAP - Rezultat slab
Atunci când o maşină este lovită din spate, aceasta accelerează brusc. În acel moment, spătarul scaunului loveşte spatele ocupantului şi îl împinge înspre înainte, în timp ce capul rămâne în spate până când gâtul îşi atinge limita structurală a flexibilităţii. Următoarea mişcare a gâtului, care se comportă exact ca un arc în aceste momente, împinge brutal capul înspre înainte, degajând forţe care pot afecta iremediabil muşchii şi oasele zonei cervicale.
Dacă tetierele sunt utilizate corect, au o formă potrivită şi sunt aşezate în poziţia normală, eventualele afecţiunile gâtului pot fi prevenite în cazul unui accident. Tetierele au rolul de a împiedica aceste mişcări bruşte ale capului în momentul unui impact posterior şi de a limita afecţiunile coloanei.
EuroNCAP - Rezultat acceptabil
Din păcate, ignoranţa şoferilor şi - parţial - cea a constructorilor a făcut ca accidentele minore la nivel cervical să reprezinte una dintre cele mai des întâlnite probleme ale şoferilor în decursul timpului. Astfel, la baza problemelor gâtului au stat fie aşezarea proastă a tetierelor, fie montajul lor din fabrică, fie poziţionarea lor, fie forma lor incorectă.
Din fericire, tetierelor li se acordă din ce în ce mai multă importanţă în ultimii zece ani, iar multe dintre maşinile disponibile pe piaţă sunt lansate cu soluţii tehnice şi cu un design nou al tetierelor care să limiteze accidentările uşoare de acest tip.
Din ce în ce mai mulţi producători arată că înţeleg mesajul. În 1995, dacă erai scund era foarte greu să găseşti o maşină cu tetiere care să-ţi ofere un minim de protecţie în caz de impact posterior. Acum, însă, cei scunzi şi cei mai înalţi au mari şanse să găsească tetiere care să-i protejeze. E vorba de o schimbare importantă, spune Adrian Lund, unul dintre inginerii instituţiei americane IIHS (Insurance Institute for Highway Safety).
EuroNCAP - Rezultat bun
CUM TREBUIE SĂ STEA O TETIERĂ
PENTRU A TE PROTEJA?

Cel mai important lucru legat de aşezarea corectă a tetierelor este legat de faptul că acestea trebuie verificate de fiecare dată când vă urcaţi în maşină, indiferent dacă sunteţi şofer sau pasager. Motivul? Este foarte probabil ca poziţia lor să fi fost modificată de pasageri sau de simpla mişcare a corpului la urcarea sau la coborârea în maşină.
Pentru a te asigura că nu vei avea probleme în cazul unui impact posterior nedorit, trebuie să bifezi două reguli esenţiale care vizează poziţionarea tetierelor. În primul rând, trebuie să fii sigur că vârful tetierei se află la acelaşi nivel cu vârful capului. În al doilea rând, fii sigur că poziţionezi tetiera cât mai aproape de partea din spate a capului. Dacă reuşeşti să îţi ţii spatele capului pe tetieră atunci când conduci, înseamnă că eşti aşezat în poziţia perfectă pentru a evita problemele care pot apărea.
O tetieră aşezată corect te va ajuta să previi accidentarea gâtului. Reducând distanţa dintre spatele capului şi tetieră, opreşti practic gâtul să se îndoaie înspre spate în prima fază flexibilă. Distanţa mică dintre cap şi tetieră taie din timpul de care are nevoie capul pentru a intra în contact cu tetiera şi creşte timpul în care capul este sprijinit în eventualitatea unui accident.
Un alt element important - pe care trebuie să îl verificaţi atunci când vă cumpăraţi o maşină nouă sau second-hand -este ca tetiera să poată fi fixată, deoarece o tetieră care se mişcă uşor pe verticală nu vă va oferi sprijinul scontat în cazul nefericit al unui accident.
Evident, trebuie subliniat faptul că tetiera nu este o pernă, aşa cum mulţi dintre şoferii tind să o considere. Rolul său este foarte clar conturat, iar aşezarea ei la nivelul gâtului face ca ajutorul pe care ar putea să vi-l dea în cazul în care o maşină vă loveşte din spate să fie minime sau chiar să lipsească.
Cele 5 reguli ale tetierelor:
- Verifică-le întotdeauna când intri în maşină.
- Vârful tetierelor trebuie să se afle la nivelul vârfului capului.
- Poziţionează tetierele cât mai aproape de spatele capului. Cu cât mai aproape, cu atât ai mai puţine şanse de a suferi leziuni la nivel cervical.
- Asigură-te că tetiera este fixă.
- Aşează spatele scaunului cât mai înainte posibil, pentru a împiedica tetiera să "alunece" sub cap în cazul unui accident.

TETIERELE ACTIVE,
INOVAŢII LA NIVELUL SIGURANŢEI
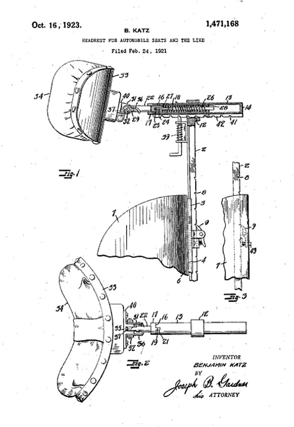
Tetierele au fost inventate de un american, Banjamin Katz, în 1921. Patentul înaintat la oficiul pentru invenţii şi mărci s-a numit "Tetiere pentru scaunele automobilelor şi pentru altele de acest tip" şi a fost înregistrat în 16 octombrie 1923, la doi ani şi jumătate de la înaintarea actelor. Cu toate acestea, producătorilor de automobile le-a luat aproape 45 de ani până să conştientizeze efectele benefice pe care le-ar putea avea tetierele, primele maşini cu aceste accesorii apărând pe piaţă la sfârşitul anilor '60. NHTSA, organizaţia americană care supraveghează siguranţa de pe şoselele americane, a impus însă utilizarea tetierelor ca element standard începând cu 1 ianuarie 1969, inginerii acesteia fiind mai mult decât mulţumiţi cu eficienţa acestora în cazul accidentelor.

Evident, simpla montare a tetierelor nu a garantat şi siguranţa celor de pe scaune, obligativitatea fiind privită de mulţi producători ca pe un moft al organizaţiilor care se ocupă cu siguranţa pasagerilor. Aflăm, astfel, că doar 6% dintre maşinile testate de IIHS în anul 1999 în Statele Unite au primit calificativul BINE la capitolul Protecţia pasagerilor prin tetiere în cazul unui accident. De fapt, vorbim de doar opt maşini: BMW Z3 Coupe, VW New Beetle, Saab 9-3 şi Saab 9-5 şi Volvo C70, S70, V70 şi S80.
Secretul suedezilor de la Saab era legat de faptul că, în 1998, au inventat un sistem care astăzi s-a generalizat şi este adoptat de tot mai mulţi producători: tetierele active. Era vorba de tetiere care arătau identic cu cele normale, doar că - în cazul în care maşina era lovită din spate cu o viteză mai mare de 10 km/h - ele se "activau", ridicându-se şi apropiindu-se de capul pasagerului. Acest sistem a fost patentat de Saab şi a fost introdus pe toate modelele proprii începând cu anul 1999, rezultatele efective ale acestei soluţii fiind excepţionale.

"În lumina testelor noastre de laborator ne aşteptam ca accidentele de la nivelul gâtului să scadă cu circa 30%. Acum, după ce au trecut câţiva ani de la instalarea sistemului pe maşinile de serie, vedem că rezultatele obţinute în realitate sunt mult mai bune decât atât", nota prestigioasa revistă medicală americană The Journal of Trauma. Conform cercetărilor acestei publicaţii, accidentele la nivelul gâtului au scăzut cu 75% în cazul maşinilor echipate cu sistemul Saab Active Head Restraint (SAHR) comparativ cu anterioarele modele pe care acestea le-au înlocuit, Saab 900 şi Saab 9000.
Volvo a cumpărat imediat patentul celor de la Saab în acelaşi an, 1999, iar rezultatele excelente ale celor doi constructori suedezi i-au făcut pe ceilalţi producători auto să regândească din temelii rolul pe care tetierele îl au în economia unui eventual accident. Astfel, tetierele active au devenit o necesitate, şi nu un lux - aşa cum se întâmpla până acum câţiva ani. Iar rolul tetierelor a devenit la fel de important precum este cel al airbag-urilor sau al centurii de siguranţă.

CARE SUNT CELE MAI BUNE
MODELE DE PE PIAŢĂ?
Fiind un element constitutiv relativ ieftin în comparaţie cu sistemele avansate de siguranţă activă sau pasivă de pe piaţă, tetierele nu ţin cont de preţul modelului atunci când vine vorba de protecţia pasagerilor. Altfel spus, există modele cu un preţ acceptabil care oferă un nivel al siguranţei cervicale mult mai bun decât unele cu un preţ piperat.
În ajutorul nostru vine EuroNCAP, care testează începând cu anul 2009 şi nivelul pe care-l oferă tetierele modelelor oferite pe piaţa din Europa în momentul unui impact posterior. Astfel, din cele 90 maşini pe care EuroNCAP le-a testat în această perioadă, doar o treime (32) au reuşit să îşi adjudece calificativul Bine.
Conform organizaţiei independente europene, cele mai sigure modele la acest capitol sunt Opel Astra, Ford C-Max şi Ford Grand C-Max, cu un scor de 3.7. Foarte aproape stau Skoda Yeti, Seat Alhambra şi VW Sharan (3.6), dar şi Volvo XC60 şi Kia Sorento (cu 3.5). Extrem de interesant este că şase dintre modelele de mai sus (C-Max, Grand C-Max, Yeti, Alhambra, Sharan şi XC60) au fost echipate cu tetiere pasive, clasice, rezultatul foarte bun fiind astfel pus pe seama designului excelent al scaunelor şi al zonei superioare a acestuia.
La celălalt capăt al clasamentului, cu un scor dezamăgitor, vin Suzuki Splash (0.0 puncte), Peugeot 308 CC (0.0), Mazda CX-7 (0.0), Citroen C3 Picasso (0.3) şi Ford Kuga (0.4). Singurul model românesc testat de EuroNCAP la acest capitol, Dacia Sandero, a primit un scor considerat acceptabil de EuroNCAP: 1.6. În spatele modestului Dacia Sandero se află modele precum noul Citroen C3 sau noul C5, modelul românesc ridicându-se la nivelul de siguranţă al tetierelor pe care îl oferă compactul Peugeot 308.
Lista completă a scorurilor pe care modelele europene le-a primit la aceste teste poate fi consultată AICI.










caz concret: - coloana de masini oprita - opresc in spatele unei dacii 1300 la vreo 2 metri. Ce naiba pastram distanta ca asa am invatat, no? - din spate un taran cu un Citroen Jumper gol ce tracta cu un CABLU un WV Crafter incarcat si FARA FRANE - rezultat: WV intra in Citroen, Citroenul in je, je in dacia 1300. - rezultat: Citreon - radiator spart, WV - masca + far spart, je - stop spart, hayon indoit fara posibilitate de inchidere, lonjeron stanga deformat, radio de bord sarit din locas, je si cu pasagerul din dreapta cu gaturile ramase intregi DATORITA TETIERELOR. Dacia din fata n-a avut nici pe dracu ca isi pusese gospodarul drept bara de protectie o bara de otel ramasa cand si-a facut cismea in gradina. Asta avut ca rezultat, tot la mine, far spart, spolier spart, grila sparta, far de ceata spart. Concluzie, doua: - potriviti-va bine tetierele - feriti-va de magarush ca de boii de pe sosele nu scapati